1976392753

MANSHİP Oval ekonomik lumboz 178x406

₺28,166.62
Sadece Türk Lira'sına taksit yapılabilmektedir.

MANSHİP Oval ekonomik lumboz. Gri akrilik cam, çerçeve ve menteşeler 316 paslanmaz çeliktir. Uygulanabilir yüzey
kalınlığı max: 60 mm, görünmeyen yüzeylerin paslanmazlığını sağlamak amacıyla
electro polisaj yapılmıştır. Dayanıklı PVC contası vardır.

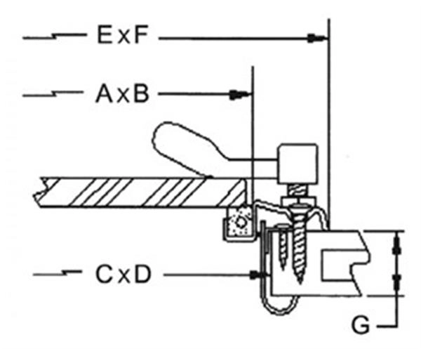
Dıştan Dışa Boyut ExF:251x479 mm
Model AxB:178x406 mm
Montaj Boyutu CxD:188x416 mm
...
...
Sepete eklendi
Ürün sepetine eklendi.
Sepeti Gör