Tip: Sol içeri
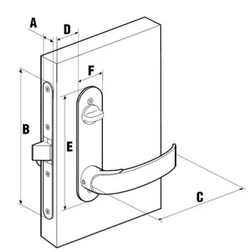
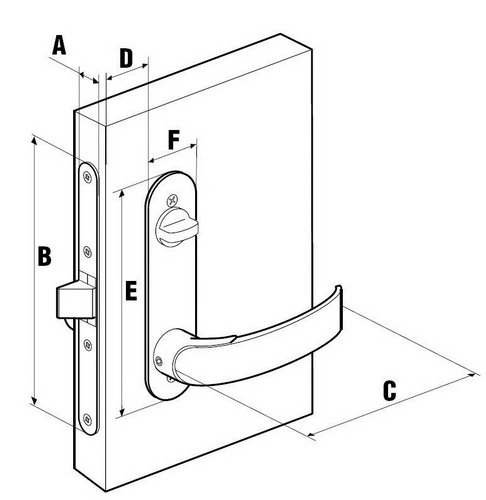
Mobella kapı kilidi. Model Offshore Flush.
Mobella kapı kilidi. Model Offshore Flush. 14.5-17 mm kalınlığında kapılara monte olabilir. Alüminyum finisyonludur. Tamamen deniz şartlarına uygun materyallerden imal edilmiştir, korozyona uğramaz. İçeriden kilitlenebilir.
...
...