★От яхт до удочек, от оборудования для марин до портового инвентаря — всё, что вам нужно, в одном месте!★Покупайте с лёгкостью в 19 валютах и на 11 языках по всему миру.★От запчастей для двигателя до навигационных систем — комплексные решения для всех типов судов.★Спасательные жилеты, аварийное оборудование и продукция высокого качества для безопасного плавания.★Обслуживаем любителей морских путешествий на 11 языках и в 19 валютах.★GPS, радар, автопилот и многое другое — самые современные морские технологии в одном магазине.★Местные цены, глобальное качество: 19 валют, 11 языков, тысячи товаров.★От небольших рыбацких лодок до мегаяхт — всё, что вам нужно, в одном месте.
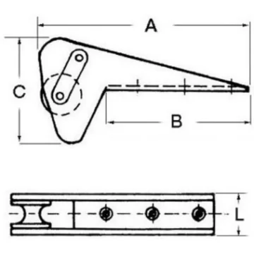
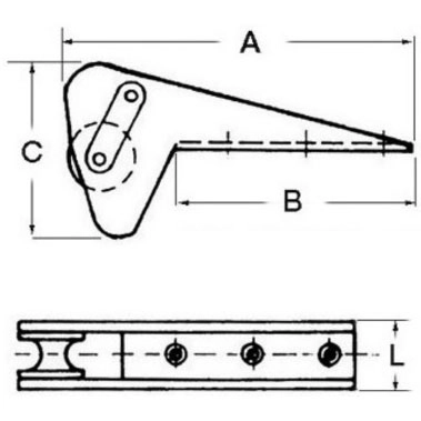
Paslanmaz çelik baş makası, U şeklinde çapa stoperi ve kırılmaz paslanmaz çelik makaraya sahiptir. 30 kg'a kadar Bruce/Trefoil çapalar için üretilmiştir.
Ölçüler: A (mm): 590 B (mm): 340 C (mm): 240 L (mm): 82