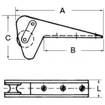
The stainless steel bow roller features a U-shaped anchor stopper and an unbreakable stainless steel sheave. It is designed for Bruce/Trefoil anchors up to 30 kg.
Dimensions:A (mm): 590B (mm): 340C (mm): 240L (mm): 82